
Mighty・Mild🄬におけるカケワレ防止研磨に関する特許を公開
重圧バレル研磨機/Mighty・Mild🄬の研磨初期の加速中に発生するワークのカケワレ・打痕を飛躍的に低減する制御方法の国際特許出願が公開されました。
金沢大学と㈱チップトンとの共同発明「遠心バレル研磨における回転数制御方法及び遠心バレル研磨方法」(公開番号WO/2025/177749)です。

重圧バレル研磨機/Mighty・Mild🄬の研磨初期の加速中に発生するワークのカケワレ・打痕を飛躍的に低減する制御方法の国際特許出願が公開されました。
金沢大学と㈱チップトンとの共同発明「遠心バレル研磨における回転数制御方法及び遠心バレル研磨方法」(公開番号WO/2025/177749)です。

2025年5月21日(水)、共同研究先の金沢大学・神戸大学、TVF🄬のユーザーであるシオノギファーマ株式会社様、当社の4者連携による6回目の共同研究成果発表会が本社ホールで開催されました。
今年は4テーマの発表がありました。
・金沢大学 : バレル研磨に関する講演 1件
・神戸大学 :TVF🄬に関する講演 1件
・シオノギファーマ株式会社:TVF🄬に関する講演 1件
・当社発表 :依頼テストにおける取り組みと実績 1件
これらの研究成果は、学会発表や論文等で公開してゆきますのでご期待ください。
今後も産学官連携で、オープンイノベーションによる技術開発を積極的に取り組んでまいります。

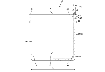
摩耗したゴムライニングのメーカー修理が不要となる発明です。ゴム部分を簡単に取り外して交換することができます。遠心バレル研磨機HS-R30ACEで初採用しました。当社発明(特許第7598628号)です。

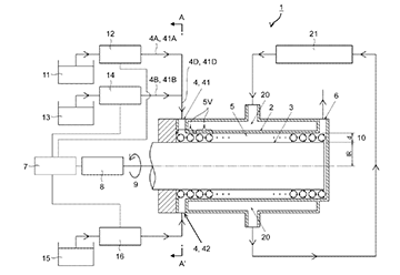
テイラー渦流式 連続晶析・反応装置TVF🄬を使用することで、mRNAなどのカプセル粒子の生産性を飛躍的に向上させる国際特許が日本で登録されました。
第一三共㈱と㈱チップトンとの共同発明「テイラー反応装置及びカプセル粒子の製造方法」(特許第7557915号)です。
本特許の実施権の設定についても、お気軽にお問い合わせ下さい。
-360x248a.png)
金属表面をジャイロ研磨後に窒化処理を施すことで、表面化合物層の結晶粒を超微細化できる成果が得られました。これにより、ジャイロ研磨と窒化処理を組み合わせることで金属材料の疲労特性の向上が期待されます。論文は「 Grain refinement of Fe4N compound layer in nitrided steel 」。(論文執筆者と共同研究者:金沢大学/古賀紀光、橋本洋平他4名) 弊社はこの研究にメディア提供の協力をしています。